进行对称和非对称业务处理的基站发射机要求有较高的带宽效率。时分同步码分多址(TD-SCDMA)技术通过引入时分复用(TDD)技术可以支持这类业务的应用,借助于传输方向的周期性改变,实现上下行链路在同一无线载波上的交替传送。其优势在于,上下行链路方向之间的转换点,对于对称业务可设置成对称关系,对于非对称业务可设置成一定范围的非对称值。由此,TDD的使用便可同时改进两种业务类型的频谱利用率和通信能力。
TD-SCDMA是频分多址(FDMA)、时分多址(TDMA)和码分多址(CDMA)三种技术的综合利用。它与具有密集频谱重用支持功能的智能天线的结合使用,可实现对无线频谱的高效利用。
基于TD-SCDMA的系统可满足第三代移动通信(3G)在新兴的密集式应用、分组型传输以及移动互联网应用方面对高数据率的要求,使运营商在由2G向3G低风险平滑过渡过程中受益。兼具2G系统的低成本和3G系统得到初步应用的需求,激励着基站设备制造商采用新的可重构硬件平台。许多BTS制造商都认为多载波收发机是可支持无线空中接口标准的单一底层基础设计解决方法。
传统的基站架构要求对所处理的每个RF载波(数字和模拟系统各为4到80个信道)都有一个完整的收发机。这类无线信号必须进行多路分集。多载波收发机的妙处在于通过天线完成每个RF载波的数字域处理,消除无线冗余,从而得到单一的高性能无线频率。
基于TD-SCDMA无线传输技术的无线接入网(RAN)可以与GSM的核心系统进行连接,实现3G业务及功能在现行GSM网络上的无缝集成。这将使GSM运营商以成本效益的方式向3G升级,因为GSM核心网络设施的完全集成和重用成本对3G的经济性起着关键作用。
图1所示是一个帧的物理结构。这个5ms帧由7个用箭头表示上下行链路方向的时隙组成。TS0总是下行链路,TS1总是上行链路。与通常的表示法相反,可以看到时隙的净长度不含邻近的保护时间。上行与下行链路间的转换点可以设置在TS1与TS2以及TS6与TS0之间,保护时间仅为12.5微秒。TS0之后是用于实现UE同步的下行链路导频信号DwPTS。用来进行随机存取和同步化的100微秒UpPTS由UE发送,并需落到所设定的125微秒窗口内。但它有可能在上升沿的间隙提前到达,这样就要求BTS控制器(BTSC)尽早进入接收状态。这种间隙偶尔也用于校准用途。

图1 用箭头表示上下行链路方向由7个时隙组成
TD-SCDMA无线接口与3GPP集成,可作为UTRA-TDD、UTRA-TDD LCR的低芯片速率选择方案。UTRA-TDD HCR使用高芯片速率模式(芯片速率3.84Mchips/s,带宽5MHz)。符号时间Ts=Q/Tc,Tc=1/芯片速率=0.78125s,符号时间Ts取决于扩展系数Q。调制方式采用QPSK。对Tx的每一芯片进行脉冲波形滤波。
数模转换器(DAC)和多载波功率放大器(MCPA)必须保护几个以数字方式产生的载波频谱不对相邻信道造成讹误或寄生信号。基站Tx在各个载波上进行载波间互调(IM)的结果,产生的频谱再生必须最小。DAC用来产生更高的频率,使上变频级数由2个减为1个。不利的方面是转换器性能在较高的频率下会变差。多载波传输与单载波无线方案不同,后者借助模拟滤波器去除可造成相邻信道讹误的无用信号。而多载波架构在整个传输带宽范围内限制失真。
当RF PA承载不具有固定包络、一组载波或数个CDMA组合信号的信号时,PA便产生IM失真(IMD)。由于IM功率作为干扰流入相邻信道,因此,高级的宽带PA线性化策略已成为多载波收发器的关键技术。
按照3GPP标准要求,TD-SCDMA TX的设计应实现TD-SCDMA BTS与GSM及DCS-1800BTS的共存。为降低对MCPA的线性度要求,DAC的相邻信道泄漏比(ACLR)规范应不超过表1的规定值。
TD-SCDMA信号的峰值与均值功率比(PAPR)取决于编码和载波数。所有的编码和载波作同相相加时,RAPR的值最大。
AD6623是一种四信道104M样值/s传输信号处理器(TSP),适合多模无线基站Tx架构。它用于基站Tx的DSP与高速DAC之间。16位DAC的动态范围允许多个AD6623组合信道在具有高PAPR值的数兆赫带宽上传输,平均输出信号电平为全量程范围的一定比例。此外,可编程系数有限冲激响应(FIR)滤波器级允许将反成像(anti imaging)和静态均衡功能结合到一个单一的具有成本效益的滤波器中。可编程功率上升/下降单元对基于TD-SCDMA所规定的时隙上的功率延升提供支持。
每个级联集成梳状(CIC)滤波器级的内插因子范围和二级CIC滤波器中的重复取样器,使AD6623能有效地以高速样束生成窄带和宽带载波。高分辩率数控振荡器(NCO)支持频率规划的灵活运用。该高速NCO能够将正交的采样信号调整到中频(IF)信道,或者NCO直接在IF信道进行频率调制。
AD9777是用于基带或IF波形重建的16位高性能可编程2x/4x/8x内插Tx数据转换器(TxDAC),要求动态范围要高。AD9777特有的串行接口(SPI)具有高度可编程性,可支持以下增强型系统级选件,包括:
* 2x/4x/8x内插滤波器可选;
* 带镜像抑制的Fs/2、Fs/4或Fs/8(Fs:AD9777的采样频率)数字式正交调制方式;
* 直接IF模式,可编程信道增益与偏移控制。
AD8346是用于0.8-2.5GHz的半导体射频集成电路同相/正交(I/Q)调制器。其相位精度和幅度平衡性能允许对RF进行高性能直接调制。
这种Tx子系统可采用模拟器件公司(ADI)的ADSP TS001M Tiger-SHARC DSP进行补偿。该DSP适于200MHz下每秒20亿次16位乘法/累加运算的通信应用。
TD-SCDMA芯片速率低于400MHz以下的最高整数过采样率为399.36MHz(1.28×39×8.0Mchips/s)。AD6623滤波器对输出信号带宽进行约束,使之保持低于TD-SCDMA所规定的传输掩膜要求。基带信号的芯片速率为1.28Mchips/s。运行于fclk=99.84MHz下的数字上变频器进行升余弦滤波、内插和频移处理。多达3个TD-SCDMA载波可放置在20MHz的频宽内。串行数据源由AD6623处理信道以fsclk=fclk/2=40.96Mb/s (或1.28×32.00=40.96Mb/s)的速率驱动数据。这基本上是AD6623的理想结构。主控时钟以99.84MHz运行,使可编程FIR滤波器对39个抽头进行计算。
可编程系数FIR滤波器在通带内以因数3内插输入信号并对CIC滤波器的滚降特性进行预补偿。RAM系数(RCF)输出速率为每处理信道3.84M样值/s。第二滤波器级--5阶CIC(CIC5)滤波器的内插为Lcic5=13。CIC5的输出速率为49.92M样值/s。第三滤波器级-2阶重采样CIC无任何内插(LrCIC2=1)。CIC2的输出速率为49.92M样值/s(综合样率)。CIC和NCO以49.92MHz的综合速率运行实现功率节省。内插的TD-SCDMA信号经NCO产生的正弦/余弦序列上变频到IF=-6.24MHz。载波经AD6623变换到-16.24MHz到3.76MHz的频带范围内。图2示出AD6623的复合变换功能,通带纹波0.116dB,阻带频率0.87MHz。

图2 AD6623对滤波后TD-SCDMA载波的频率响应
所有滤波器的预期误差矢量幅度(EVM)必须小于2%。EVM通过观察与升余弦(RRC)接收滤波器相匹配的实际AD6623滤波器的时域冲激响应而计算得出。由于合适的RRC存在无限响应,因此,使用了大量符号,以避免由傅立叶变换造成的误差矢量严重混淆,导致不精确的量度。这一点可以通过观察冲激响应曲线中心的小数值结果得到验证。计算所得的EVMrms为0.47%。
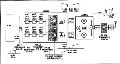
AD9777接受来自AD6623的交织I/Q数据(图3)。数据接口为32位宽,实部16位、虚部16位。AD9777用其双DAC产生综合调制IF信号,该信号通过模拟正交调制器变换为RF信号。DAC的镜像抑制和频率偏移性能决定了其后模拟滤波器级的要求。AD9777在LDAC=8、相应采样率为399.36M样值/s条件下内插数据。如此配置可使43抽头的第一级滤波器在399.36/8=49.92MHz的频率下工作。TD-SCDMA载波覆盖33.68MHz-53.68MHz频段。中心频率为IF 43.69MHz(49.92x7/8MHz)。从图4所示的矩形区域中,可以确定AD9777的输出端有3个经滤波的TD-SCDMA载波。

图3 三载波TD-SCDMA Tx方框图
位于AD9777之后的正交调制器有两个以正交方式工作的混频器。混频器的输出按照频率元件的相位关系和符号进行内部求和,以执行数学运算。

图4在矩形区域内可确定AD9777输出端有3个经滤波的TD-SCDMA载波
进行对称和非对称业务处理的基站发射机要求有较高的带宽效率。时分同步码分多址(TD-SCDMA)技术通过引入时分复用(TDD)技术可以支持这类业务的应用,借助于传输方向的周期性改变,实现上下行链路在同一无线载波上的交替传送。其优势在于,上下行链路方向之间的转换点,对于对称业务可设置成对称关系,对于非对称业务可设置成一定范围的非对称值。由此,TDD的使用便可同时改进两种业务类型的频谱利用率和通信能力。
TD-SCDMA是频分多址(FDMA)、时分多址(TDMA)和码分多址(CDMA)三种技术的综合利用。它与具有密集频谱重用支持功能的智能天线的结合使用,可实现对无线频谱的高效利用。
基于TD-SCDMA的系统可满足第三代移动通信(3G)在新兴的密集式应用、分组型传输以及移动互联网应用方面对高数据率的要求,使运营商在由2G向3G低风险平滑过渡过程中受益。兼具2G系统的低成本和3G系统得到初步应用的需求,激励着基站设备制造商采用新的可重构硬件平台。许多BTS制造商都认为多载波收发机是可支持无线空中接口标准的单一底层基础设计解决方法。
传统的基站架构要求对所处理的每个RF载波(数字和模拟系统各为4到80个信道)都有一个完整的收发机。这类无线信号必须进行多路分集。多载波收发机的妙处在于通过天线完成每个RF载波的数字域处理,消除无线冗余,从而得到单一的高性能无线频率。
基于TD-SCDMA无线传输技术的无线接入网(RAN)可以与GSM的核心系统进行连接,实现3G业务及功能在现行GSM网络上的无缝集成。这将使GSM运营商以成本效益的方式向3G升级,因为GSM核心网络设施的完全集成和重用成本对3G的经济性起着关键作用。
图1所示是一个帧的物理结构。这个5ms帧由7个用箭头表示上下行链路方向的时隙组成。TS0总是下行链路,TS1总是上行链路。与通常的表示法相反,可以看到时隙的净长度不含邻近的保护时间。上行与下行链路间的转换点可以设置在TS1与TS2以及TS6与TS0之间,保护时间仅为12.5微秒。TS0之后是用于实现UE同步的下行链路导频信号DwPTS。用来进行随机存取和同步化的100微秒UpPTS由UE发送,并需落到所设定的125微秒窗口内。但它有可能在上升沿的间隙提前到达,这样就要求BTS控制器(BTSC)尽早进入接收状态。这种间隙偶尔也用于校准用途。

图1 用箭头表示上下行链路方向由7个时隙组成
TD-SCDMA无线接口与3GPP集成,可作为UTRA-TDD、UTRA-TDD LCR的低芯片速率选择方案。UTRA-TDD HCR使用高芯片速率模式(芯片速率3.84Mchips/s,带宽5MHz)。符号时间Ts=Q/Tc,Tc=1/芯片速率=0.78125s,符号时间Ts取决于扩展系数Q。调制方式采用QPSK。对Tx的每一芯片进行脉冲波形滤波。
数模转换器(DAC)和多载波功率放大器(MCPA)必须保护几个以数字方式产生的载波频谱不对相邻信道造成讹误或寄生信号。基站Tx在各个载波上进行载波间互调(IM)的结果,产生的频谱再生必须最小。DAC用来产生更高的频率,使上变频级数由2个减为1个。不利的方面是转换器性能在较高的频率下会变差。多载波传输与单载波无线方案不同,后者借助模拟滤波器去除可造成相邻信道讹误的无用信号。而多载波架构在整个传输带宽范围内限制失真。
当RF PA承载不具有固定包络、一组载波或数个CDMA组合信号的信号时,PA便产生IM失真(IMD)。由于IM功率作为干扰流入相邻信道,因此,高级的宽带PA线性化策略已成为多载波收发器的关键技术。
按照3GPP标准要求,TD-SCDMA TX的设计应实现TD-SCDMA BTS与GSM及DCS-1800BTS的共存。为降低对MCPA的线性度要求,DAC的相邻信道泄漏比(ACLR)规范应不超过表1的规定值。
TD-SCDMA信号的峰值与均值功率比(PAPR)取决于编码和载波数。所有的编码和载波作同相相加时,RAPR的值最大。
AD6623是一种四信道104M样值/s传输信号处理器(TSP),适合多模无线基站Tx架构。它用于基站Tx的DSP与高速DAC之间。16位DAC的动态范围允许多个AD6623组合信道在具有高PAPR值的数兆赫带宽上传输,平均输出信号电平为全量程范围的一定比例。此外,可编程系数有限冲激响应(FIR)滤波器级允许将反成像(anti imaging)和静态均衡功能结合到一个单一的具有成本效益的滤波器中。可编程功率上升/下降单元对基于TD-SCDMA所规定的时隙上的功率延升提供支持。
每个级联集成梳状(CIC)滤波器级的内插因子范围和二级CIC滤波器中的重复取样器,使AD6623能有效地以高速样束生成窄带和宽带载波。高分辩率数控振荡器(NCO)支持频率规划的灵活运用。该高速NCO能够将正交的采样信号调整到中频(IF)信道,或者NCO直接在IF信道进行频率调制。
AD9777是用于基带或IF波形重建的16位高性能可编程2x/4x/8x内插Tx数据转换器(TxDAC),要求动态范围要高。AD9777特有的串行接口(SPI)具有高度可编程性,可支持以下增强型系统级选件,包括:
* 2x/4x/8x内插滤波器可选;
* 带镜像抑制的Fs/2、Fs/4或Fs/8(Fs:AD9777的采样频率)数字式正交调制方式;
* 直接IF模式,可编程信道增益与偏移控制。
AD8346是用于0.8-2.5GHz的半导体射频集成电路同相/正交(I/Q)调制器。其相位精度和幅度平衡性能允许对RF进行高性能直接调制。
这种Tx子系统可采用模拟器件公司(ADI)的ADSP TS001M Tiger-SHARC DSP进行补偿。该DSP适于200MHz下每秒20亿次16位乘法/累加运算的通信应用。
TD-SCDMA芯片速率低于400MHz以下的最高整数过采样率为399.36MHz(1.28×39×8.0Mchips/s)。AD6623滤波器对输出信号带宽进行约束,使之保持低于TD-SCDMA所规定的传输掩膜要求。基带信号的芯片速率为1.28Mchips/s。运行于fclk=99.84MHz下的数字上变频器进行升余弦滤波、内插和频移处理。多达3个TD-SCDMA载波可放置在20MHz的频宽内。串行数据源由AD6623处理信道以fsclk=fclk/2=40.96Mb/s (或1.28×32.00=40.96Mb/s)的速率驱动数据。这基本上是AD6623的理想结构。主控时钟以99.84MHz运行,使可编程FIR滤波器对39个抽头进行计算。
可编程系数FIR滤波器在通带内以因数3内插输入信号并对CIC滤波器的滚降特性进行预补偿。RAM系数(RCF)输出速率为每处理信道3.84M样值/s。第二滤波器级--5阶CIC(CIC5)滤波器的内插为Lcic5=13。CIC5的输出速率为49.92M样值/s。第三滤波器级-2阶重采样CIC无任何内插(LrCIC2=1)。CIC2的输出速率为49.92M样值/s(综合样率)。CIC和NCO以49.92MHz的综合速率运行实现功率节省。内插的TD-SCDMA信号经NCO产生的正弦/余弦序列上变频到IF=-6.24MHz。载波经AD6623变换到-16.24MHz到3.76MHz的频带范围内。图2示出AD6623的复合变换功能,通带纹波0.116dB,阻带频率0.87MHz。

图2 AD6623对滤波后TD-SCDMA载波的频率响应
所有滤波器的预期误差矢量幅度(EVM)必须小于2%。EVM通过观察与升余弦(RRC)接收滤波器相匹配的实际AD6623滤波器的时域冲激响应而计算得出。由于合适的RRC存在无限响应,因此,使用了大量符号,以避免由傅立叶变换造成的误差矢量严重混淆,导致不精确的量度。这一点可以通过观察冲激响应曲线中心的小数值结果得到验证。计算所得的EVMrms为0.47%。
AD9777接受来自AD6623的交织I/Q数据(图3)。数据接口为32位宽,实部16位、虚部16位。AD9777用其双DAC产生综合调制IF信号,该信号通过模拟正交调制器变换为RF信号。DAC的镜像抑制和频率偏移性能决定了其后模拟滤波器级的要求。AD9777在LDAC=8、相应采样率为399.36M样值/s条件下内插数据。如此配置可使43抽头的第一级滤波器在399.36/8=49.92MHz的频率下工作。TD-SCDMA载波覆盖33.68MHz-53.68MHz频段。中心频率为IF 43.69MHz(49.92x7/8MHz)。从图4所示的矩形区域中,可以确定AD9777的输出端有3个经滤波的TD-SCDMA载波。

图3 三载波TD-SCDMA Tx方框图
位于AD9777之后的正交调制器有两个以正交方式工作的混频器。混频器的输出按照频率元件的相位关系和符号进行内部求和,以执行数学运算。

图4在矩形区域内可确定AD9777输出端有3个经滤波的TD-SCDMA载波
举报